Ar kada pagalvojote, kad sunkias žaidimo vietas už jus galėtų pereiti dirbtinis intelektas? „PlayStation“ kūrėjai būtent tai ir planuoja.
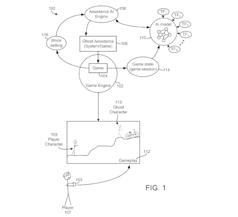
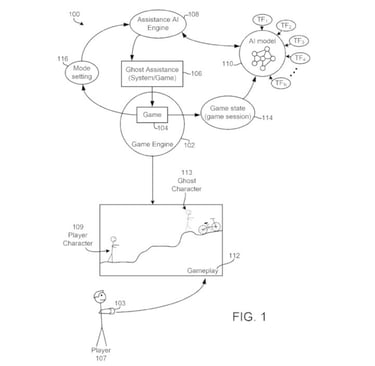
„Sony“ užpatentavo naują sistemą – „Ghost Player“ (liet. „Žaidėjas vaiduoklis“). Ši technologija leistų susikurti savo AI kopiją, kuri įsijungtų tada, kai žaidėjas užstringa ir niekaip negali įveikti sudėtingo lygio ar stipraus priešininko. Šis „vaiduoklis“ perimtų valdymą ir padėtų užbaigti sunkią atkarpą už jus.
TECHNOLOGIJOSDIRBTINIS INTELEKTASŽAIDIMŲ NAUJIENOSPROGAMER.LTNAUJIENOSSONYPLAYSTATION
Progamer.lt


„PlayStation“ ateitis: AI, kuris žaidžia už jus, ir automatinė cenzūra
„Sony“ ruošia revoliucinius (ir šiek tiek kontraversiškus) pokyčius „PlayStation“ žaidėjams. Remiantis naujausiais duomenimis, kompanija užpatentavo technologijas, kurios iš esmės keičia tai, kaip mes žaidžiame ir ką matome ekrane.
1. „Ghost Player“ – asmeninis AI pagalbininkas Dar 2024 m. pateiktas, bet tik dabar išsamiau aptartas patentas „AI generuojamas vaiduokliškas žaidėjas“ siūlo sprendimą tiems, kurie užstringa sudėtingose žaidimo vietose. Sistema veiktų dviem režimais:
Vadovo režimas: AI tiesiog parodytų teisingą kelią ar galvosūkio sprendimą, kol žaidėjas stebi procesą.
Pilnas režimas: AI visiškai perimtų valdymą ir pats įveiktų sunkią atkarpą už vartotoją. Tai būtų pasirenkama funkcija, skirta padėti žaidėjams judėti į priekį be papildomo streso.
2. Turinio cenzūra realiuoju laiku Kita įdomi naujovė – patentas, skirtas automatiškai redaguoti žaidimų ar filmų turinį. Ši technologija leistų dirbtiniam intelektui realiuoju laiku:
Nutildyti įžeidžiančius žodžius.
Praleisti netinkamas scenas.
Modifikuoti vaizdinę medžiagą, kad ji taptų priimtinesnė. Nors tai pristatoma kaip apsaugos priemonė, bendruomenėje jau kyla diskusijų dėl „AI kontroliuojamos cenzūros“.
Ar „PlayStation“ ateityje žais už mus? Naujausios „Sony“ ambicijos
„Sony“ aktyviai tyrinėja dirbtinio intelekto (DI) galimybes, kurios gali iš esmės pakeisti mūsų žaidimo patirtį. Nors idėjos skamba lyg iš mokslinės fantastikos filmo, svarbu suprasti, kur link sukasi technologijų milžinės žvilgsnis.
DI pagalbininkas: nuo patarimų iki pilno valdymo
Dar 2024 m. rudenį pateikta paraiška technologijai, vadinamai „Ghost Player“ (liet. „Žaidėjas vaiduoklis“). Pagrindinė mintis – sukurti DI variklį, kuris padėtų žaidėjams, susidūrusiems su per sunkiais iššūkiais. Planuojami du pagalbos lygiai:
Patarėjo režimas: Kompiuteris tiesiog parodo, kaip išspręsti galvosūkį ar įveikti kliūtį.
Visiškas perėmimas: DI pats „sėda prie vairo“ ir pereina sudėtingą atkarpą už jus.
Išmanioji cenzūra realiuoju laiku
Be žaidimo palengvinimo, „Sony“ domisi ir turinio kontrole. Užregistruotas patentas sistemai, kuri galėtų realiuoju laiku modifikuoti vaizdo žaidimus ar filmus: iškirpti smurtines scenas, nutildyti necenzūrinę kalbą ar praleisti įžeidžiančią medžiagą. Tai vertinama kaip nauja, DI valdomos cenzūros forma.
Ar tai taps realybe?
Nors šie patentai brėžia įdomias ateities gaires, svarbu išlikti kritiškiems:
Patentai ≠ Produktai: Dažnai kompanijos registruoja idėjas tik norėdamos jas apsaugoti, bet nebūtinai ketina jas įgyvendinti artimiausiu metu.
Nėra oficialių planų: „PlayStation“ kol kas nepatvirtino, kad šios funkcijos pasieks mūsų konsoles.


